多燕瘦被多家媒体曝光:直推可拿15代的模式或涉嫌传销

继《多燕瘦运营公司因失信被限制高消费 6次被罚款约35万元》和《多燕瘦虚假宣传不断 保健食品、特证化妆品或涉嫌非法生产销售》两文发布后,调查发现,多燕瘦被消费者投诉、多燕瘦被检出禁用成分、多燕瘦产品涉嫌虚假宣传、多燕瘦运营公司失信被限高消费都内容纷纷被“消费者报道”、“中国网财经”、“新京报”、“21世纪经济报道”等各大权威媒体报道。

在多燕瘦官方微信公众号上发现,很多文章中还是在宣传多燕瘦普通食品可以“减脂排毒”,并且借消费者吃了多燕瘦产品(吸油丸)后瘦了几十斤等文章,来宣传或暗示多燕瘦产品可以达到减肥效果,且效果惊人。

值得注意的是,多燕瘦吸油丸曾自称是蔡徐坤联名款,而企查查数据显示,蜂了时尚于2020年2月3因肖像权纠纷被蔡徐坤起诉。不过最后是以调解方式结案。

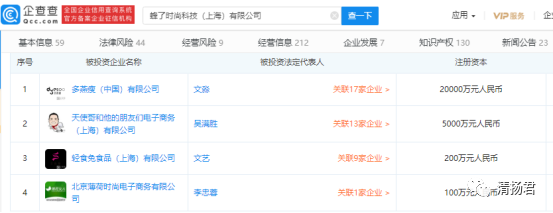
企查查显示,多燕瘦品牌的运营公司蜂了时尚科技(上海)有限公司(以下简称“蜂了时尚”),曾用名多燕瘦减肥服务(上海)有限公司、爱瘦(上海)健康管理有限公司,成立于2013年7月8日,注册资本5000万元,法人代表为吴满元,由杭州惠美惠时尚科技有限公司100%持股。

蜂了时尚曾投资过多燕瘦(中国)有限公司、天使哥和他的朋友们电子商务(上海)有限公司等公司。后者的法定代表人吴满胜还曾90.00%控股蜂了时尚,曾任蜂了时尚董事长。

提到吴满胜,不得不提一下“天使哥”的辉煌事迹。

据公开报道,吴满胜号称“天使哥”,又被称之为“中国减肥之父、中国微商创业之父”:20年中国减肥行业资深经历,曾经炒红9块9减肥茶和超级P57两款产品,2014年联手郑多燕老师投资1亿人民币创立了多燕瘦品牌,多燕瘦历经3年微商阶段,每年5亿左右销售额,2017年以跨境社交电商模式进军国际市场。

但涉足社交电商的多燕瘦的经营模式却被质疑涉嫌传销。

据媒体报道,多燕瘦的商业模式如下:根据不同的消费金额分为VIP会员、区域经理、行动大使三个级别;可获得40%的推荐奖金、层碰奖金分为左右大小两个区,获得40~25%的奖励;另有对碰奖金10~20%,可拿无限代;重销奖金和重销优惠:直推1人领3代、直推2人领6代、直推3人领9代、直推4人领12代、直推5人领15代,呈金字塔结构进行发展。每笔奖金拨放80%为现金点、20%为活动点数。

而另一款由多燕瘦(中国)有限公司委托生产的多燕瘦维密双排王益生元酵母片压片糖果,最近在朋友圈里甚是火爆。有代理商发朋友圈,声称两个月的时间,只花了399元买了两盒维密,就赚了34万多的纯现金。

据了解,维密双排王的代理级别分为天使、导师、总监、城市合伙人、企业合伙人五个级别,还有详细的利润分成,通过这样的推广,使得新产品迅速打开市场。

依据中华人民共和国《禁止传销条例》,下列行为,属于传销行为:

1、组织者或者经营者通过发展人员,要求被发展人员发展其他人员加入,对发展的人员以其直接或者间接滚动发展的人员数量为依据计算和给付报酬(包括物质奖励和其他经济利益,下同),牟取非法利益的;

2、组织者或者经营者通过发展人员,要求被发展人员交纳费用或者以认购商品等方式变相交纳费用,取得加入或者发展其他人员加入的资格,牟取非法利益的;

3、组织者或者经营者通过发展人员,要求被发展人员发展其他人员加入,形成上下线关系,并以下线的销售业绩为依据计算和给付上线报酬,牟取非法利益的。

多燕瘦设置的多级代理制度,让他人通过购买商品成为会员,拉人头或缴纳费用作为升级条件,层层返利的团队计酬方式,符合传销的行为特征,多燕瘦市场运作模式涉嫌传销。

  • 声明:转载此文目的在于传递更多信息,不代表本网的观点和立场。文章内容仅供参考,不构成投资建议。