消费是最终需求,能够发挥对经济发展的基础性作用。当前居民消费正处于结构调整的关键时期,绿色消费理念加快普及,绿色消费成为重要的消费构成。绿色消费是优化消费结构和产业结构、推动高质量发展的重要途径,是落实立足新发展阶段、贯彻新发展理念、构建新发展格局要求的重要举措,是中国式现代化的重要组成部分。
促进绿色消费是消费领域的一场深刻变革,绿色消费的时代意义更具战略性和前瞻性。本次绿色消费诸多具体制度的再度提出和安排也符合中国经济从高速增长进入高质量发展的新阶段要求。
近日,声称“作为创新领域的开拓者、直播电商的引领者、数字经济的推动者,始终以实体经济为基础,互联网为纽带,绿色消费积分为源动力,集合了商城、直播、社交等多元化生态,凭着坚定的信心、不弃的决心和矢志不渝的恒心,从小做大,从大变强”的“国华商城极速版”在各大媒体网站推广开来,引发市民的广泛关注。

据该平台宣发资料显示:“如果换一个平台消费,花你本该花的钱,赚你本该赚不到的钱”、“打造中国人自己的直播电商平台”、“让消费更具价值”、“人人参与,人人消费,人人创造,人人共享”的广告语让人看的眼花缭乱,颇具诱惑。
这让本网产生了强烈的猎奇心理,为了解开迷惑,观察员深入调查了解。
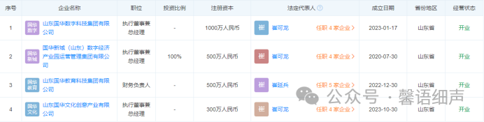
通过扫描“国华商城极速版”下载二维码,首先对其公司备案进行了初步了解,经查询发现该网站备案公司主体为国华新城(山东)数字经济产业园运营管理集团有限公司。

天眼查信息显示:国华新城(山东)数字经济产业园运营管理集团有限公司成立于2020年7月30日,法定代表人崔可龙,监事为张健,注册资本500万元人民币,实缴0元,参保人数4人,位于山东省临沂市。

图片来源:天眼查
同时崔可龙还在山东国华数字科技集团有限公司、山东国华文化创意产业有限公司、山东国华教育科技集团有限公司任职。

图片来源:天眼查
值得注意的是,山东国华教育科技集团有限公司于2023年11月6日,因通过登记的住所或者经营场所无法与企业取得联系被临沂市罗庄区市场监督管理局列入经营异常名录。

图片来源:天眼查
不仅如此,国华新城(山东)数字经济产业园运营管理集团有限公司因开设“国华商城APP”以商铺为道具,27小时向社会不特定对象集资1800余万,被多家媒体曝光。

究其原因竟是国华商城APP以购买商品赠送积分为噱头,以高回报为诱饵,并以传销形式向社会不特定人群募集资金,商铺被反复以19800元/㎡价格销售,并赠送19800积分,通过每日打卡回笼本金。

从“国华商城”到“国华商城极速版”,其中又有何变化?通过“国华商城极速版”的代理商提供的宣发资料来看,目前极速版不投资也可以参与,只要“拉人头”、参与平台任务就可以获得奖励,也就是业内的“零撸盘”。

通过进一步了解,用户虽然可以“零撸”,但是想赚取更高的利润,还是需要源源不断的拉人进来参与,还是资金盘带传销的老套路。注册送,分享送,平台赋能扶持送,主打一个性情,就是“送”。

当用户“GHB”持有达到一定量要求,并且团队人数、团队持有数同时达到要求,可升级更高等级,获取更多收益。分别设立共建社员、共建社区(3100个)、B类招商社区(310个)、A类招商社区(31个)四个级别。


传销,指的是什么?传销是指组织者或者经营者发展人员,通过对被发展人员以其直接或者间接发展的人员数量或者销售业绩为依据计算和给付报酬,或者要求被发展人员以交纳一定费用为条件取得加入资格等方式牟取非法利益,扰乱经济秩序,影响社会稳定的行为。
禁止传销条例第二章第七条规定:下列行为,属于传销行为:
(一)组织者或者经营者通过发展人员,要求被发展人员发展其他人员加入,对发展的人员以其直接或者间接滚动发展的人员数量为依据计算和给付报酬(包括物质奖励和其他经济利益,下同),牟取非法利益的;
(二)组织者或者经营者通过发展人员,要求被发展人员交纳费用或者以认购商品等方式变相交纳费用,取得加入或者发展其他人员加入的资格,牟取非法利益的;
(三)组织者或者经营者通过发展人员,要求被发展人员发展其他人员加入,形成上下线关系,并以下线的销售业绩为依据计算和给付上线报酬,牟取非法利益的。
以案释法:贵州悟喜网络科技公司传销案
当事人贵州悟喜网络科技公司自2021年12月运营以来,利用“悟喜生活”网上APP商城吸引发展会员。游客免费注册后可在APP商城进行购物,消费满200积分以上可升级为G1会员,发展其他会员可获消费金额30%的直推奖励,发展10人即可升级为G2会员,可获30%直推奖励及10%的间推奖励,G2会员团队业绩达20万元,即可升级为G3会员,G3会员根据团队业绩分为主管(20万)、总监(50万)、董事(100万),除获得30%直推奖励、10%的间推奖励外,可按级别享受团队收益。当事人在经营过程中以“悟喜生活”APP平台为载体,以购买商品的方式变相交纳费用,并要求被发展人员发展其他人员加入,形成上下线关系,并以下线的销售业绩为依据计算和给付上线报酬,其行为违反《禁止传销条例》第七条第(三)项的规定。根据《禁止传销条例》第二十四条第一款规定,2022年4月20日,贵阳市观山湖区市场监管局对当事人处以没收违法所得并罚款共计30.52万元的行政处罚。
《中华人民共和国刑法》第二百二十四条之一规定:
组织、领导以推销商品、提供服务等经营活动为名,要求参加者以缴纳费用或者购买商品、服务等方式获得加入资格,并按照一定顺序组成层级,直接或者间接以发展人员的数量作为计酬或者返利依据,引诱、胁迫参加者继续发展他人参加,骗取财物,扰乱经济社会秩序的传销活动的,处五年以下有期徒刑或者拘役,并处罚金;情节严重的,处五年以上有期徒刑,并处罚金。
根据国家发改委等七部门联合印发的《促进绿色消费实施方案》,政府大力推广绿色消费理念,鼓励消费者购买绿色环保产品。然而,一些所谓“绿色消费积分”平台却肆意歪曲解读国家政策,打着“绿色消费积分”的旗号,建立虚假交易的资金盘,行非法集资、传销、诈骗之实,严重损害了广大消费者的利益。
这些平台的操作方式往往类似,通过让消费者购买某种商品或服务,获得一定数量的积分。然后,平台再以较高的价格回收这些积分,让消费者感受到一种“赚钱”的错觉。然而,这种看似合理的运作模式背后,实则隐藏着巨大的风险。
首先,这些平台往往会承诺高额的回报,诱使消费者投入更多的资金。然而,当投资者试图提现时,却发现平台已经关闭,血本无归。其次,这些平台往往会发展下线,形成传销式的网络。一旦加入,用户不仅需要自己投入资金,还必须拉更多的人加入,否则将面临亏损的风险。最后,这些平台还可能涉及非法吸收公众存款、非法集资等违法行为,给消费者带来极大的损失。
因此,消费者在面对各种所谓的“绿色积分”平台时,应保持警惕,认真核实平台的合法性和真实性。同时,政府监管部门也应加强对这类平台的监管力度,保护消费者权益,维护市场秩序。只有这样,我们才能真正实现绿色消费,共同守护地球家园。日前,本网已将“国华商城极速版”的相关资料固定完成,将向临沂市罗庄区市场监督管理局递交相关举报材料,后续进展本网持续报道。